Текст скопирован в буфер обмена

Наши менеджеры свяжутся с вами в ближайшее время!

Гидроклапан регулятор 94030 для автокранов Ивановец КС-3577, КС-3574, КС-35714, КС-35715

ID: 392550
Клапан-регулятор 94030 Ивановец КС-3577, КС-3574, КС-35714, КС-35715 Клапан-регулятор 94030 Ивановец КС-3577, КС-3574, КС-35714, КС-35715
Клапан-регулятор 94030 Ивановец КС-3577, КС-3574, КС-35714, КС-35715

Гидроклапан регулятор 94030 для автокранов Ивановец КС-3577, КС-3574, КС-35714, КС-35715

ID: 392550
Арт: 94030 94010 У067.00.00
Арт: 94030 94010 У067.00.00
Условный проход, мм: 20
Номинальная величина потока, л/мин: 160
Габаритные размеры, мм: 160х150х80
Масса, кг: 7
Запчасти - Гидрозамки, гидроклапаны, блоки клапанные Ивановец
Изготовление

по чертежам заказчика
широкая база чертежей в наличии

Доставка

на следующий день после оплаты*

* для товаров из наличия
от 28 000
Появились вопросы о товаре?
Консультация специалиста
Описание
Характеристики
Документация
Гарантия

Гидравлический дроссель 94030 для автокранов Ивановец - подробная информация

Подходит для спецтехники

  • Автокран ИвановецКС-45717, КС-3577, КС-3574, КС-35714

Гидравлический дроссель 94030 регулирует поток жидкости в гидравлических системах, открывая или закрывая зазор при достижении заданного давления. Устройство обеспечивает стабильную работу гидравлического привода и цилиндра, выполняя следующие функции:

  • Защита оборудования от перепадов давления
  • Предотвращение гидравлических ударов
  • Сброс давления в аварийных ситуациях

Конструкция

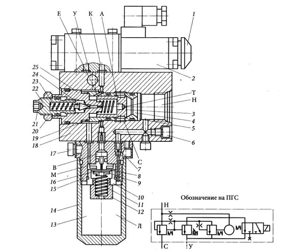
Составляющие:

  • 1 - Ручное управление
  • 2 - Гидрораспределитель
  • 3 - Дроссель основной
  • 4, 12 - Стакан
  • 5, 11, 23 - Пружина
  • 6, 17 - Пробка
  • 7 - Дроссель
  • 8 - Пластина
  • 9 - Манжета
  • 10, 25 - Втулка
  • 13 - Регулятор
  • 14 - Крышка
  • 15 - Корпус
  • 16 - Седло
  • 19 - Кольцо запорное
  • 21 - Винт регулировочный
  • 22 - Дроссель предохранительный
  • 24 - Дополнительный дроссель
Гидравлический дроссель 94030

Гидравлический дроссель 94030 изготовлен из высококачественных материалов с применением современных технологий обработки, что обеспечивает устойчивость к коррозии и воздействию окружающей среды.

Монтаж дросселя выполняется резьбовым или стыковочным методом. Резьбовой метод использует коническую резьбу, а стыковочный — цековки под присоединительные кольца, минимизируя расстояние между корпусом и механизмом. Дроссель 94030 регулирует давление в конструкции поворотной рамы кранового механизма.

Особенности эксплуатации

Работа дросселя 94030 зависит от соблюдения условий эксплуатации. Вязкость гидравлического масла должна соответствовать заданным параметрам, при значительных отклонениях требуется его замена. Содержание инородных частиц в масле не должно превышать 0,0005% от общей массы. Для корректной установки необходимо обеспечить удобный доступ к устройству для обслуживания и ремонта. Параметры трубок зависят от диаметра присоединительных отверстий, а перед запуском из трубопровода удаляется воздух.

Характеристики

Наименование Значение
Условный проход, мм 20
Номинальная величина потока, л/мин 160
Габаритные размеры, мм 160х150х80
Масса, кг 7

Мы предоставляем гарантию на все наши товары, чтобы вы были уверены в их качестве и надёжности.


Мы стремимся обеспечить наших клиентов лучшими запчастями и сервисом, поэтому предлагаем гарантию на все наши товары.


Чтобы воспользоваться гарантией, вам необходимо сохранить чек или другой документ, подтверждающий покупку запчасти у нас. Если у вас возникнут вопросы или проблемы, пожалуйста, свяжитесь с нашей службой поддержки по телефону или электронной почте.


Для получения дополнительной информации или оформления заказа заполните форму.
Также Вы можете написать нам на почту или позвонить по номеру телефона: 8 (351) 218-59-40.

на нашем сайте или вы можете отправить заявку на электронную почту , либо позвонить по номеру телефона: