Текст скопирован в буфер обмена

Наши менеджеры свяжутся с вами в ближайшее время!

Индуктивный датчик, автокомпонент PS2A-18M53-5B31-Z для систем автоматизации подъемных механизмов автокранов, автовышек, кранов-манипуляторов

ID: 402508
Индуктивный датчик PS2A-18M53-5B31-Z Индуктивный датчик PS2A-18M53-5B31-Z
Индуктивный датчик PS2A-18M53-5B31-Z

Индуктивный датчик, автокомпонент PS2A-18M53-5B31-Z для систем автоматизации подъемных механизмов автокранов, автовышек, кранов-манипуляторов

ID: 402508
Арт: PS2A-18M53-5B31-Z
Арт: PS2A-18M53-5B31-Z
Принцип действия: индуктивный
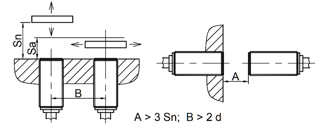
Расстояние срабатывания номинальное (Sn): 5 мм
Расстояние срабатывания рабочее (Sa): 0...4 мм
Расстояние срабатывания эффективное (Sr): (0,9…1,1)Sn
Запчасти - Индуктивные датчики / бесконтактные выключатели PS2 / ВБ2
Изготовление

по чертежам заказчика
широкая база чертежей в наличии

Доставка

на следующий день после оплаты*

* для товаров из наличия
от 3 300
Появились вопросы о товаре?
Консультация специалиста
Описание
Характеристики
Документация
Гарантия

Датчик системы автоматизации подъемных механизмов АГП, автокранов

Подходит для спецтехники

  • АвтогидроподъмникиАП-18, АГП-18, АГП-22, АПТ-17М, АПТ-17Э, АПТ-18
  • АвтокраныИвановец, Галичанин, Клинцы, Челябинец, Ульяновец, Машека
  • Манипуляторы КМУ
  • Для систем автоматизации подъемных механизмовавтокранов, автовышек, кранов-манипуляторов

Датчик PS2A-18M53-5B31-Z предназначен для применения в системах автоматизации подъемных механизмов (на стреловых автомобильных кранах, автогидроподъемниках и т. п.).

Датчик PS2A-18M53-5B31-Z - усовершенствованный аналог ВБ2А.18М.53.5.3.1.Z

Принцип работы основан на изменении параметров колебательного контура генератора датчика при внесении в зону чувствительности пластины из токопроводящего материала (объекта воздействия), что приводит к изменению исходного коммутационного состояния датчика.

Датчик рассчитан на длительную непрерывную работу в составе бортовой сети стреловых автокранов. Датчик работает с уровнем ЭДС самоиндукции, присущей бортовой сети автомобильного транспорта.


Характеристики

Наименование Значение
Принцип действия индуктивный
Расстояние срабатывания номинальное (Sn) 5 мм
Расстояние срабатывания рабочее (Sa) 0...4 мм
Расстояние срабатывания эффективное (Sr) (0,9…1,1)Sn
Тип выхода PNP
Функция выхода размыкающий, NC
Индикатор состояния выхода (LED) красный
Индикатор питания нет
Степень защиты по IEC 60529 IP67
Защита выхода от переполюсовки, короткого замыкания, ЭДС самоиндукции, превышения тока есть
Способ подключения провод ПВАМ/3x1/ 2,06 м
Материал корпуса латунь
Материал чувствительной части полиамид
Ударная нагрузка полусинусоидальная 30 gn, 11 мс
Вибрационная нагрузка 55 Гц, 1 мм, 3x30 мин
Момент затяжки гаек, не более 3 кгс·м
Масса, не более 0,13 кг

Мы предоставляем гарантию на все наши товары, чтобы вы были уверены в их качестве и надёжности.


Мы стремимся обеспечить наших клиентов лучшими запчастями и сервисом, поэтому предлагаем гарантию на все наши товары.


Чтобы воспользоваться гарантией, вам необходимо сохранить чек или другой документ, подтверждающий покупку запчасти у нас. Если у вас возникнут вопросы или проблемы, пожалуйста, свяжитесь с нашей службой поддержки по телефону или электронной почте.


Для получения дополнительной информации или оформления заказа заполните форму.
Также Вы можете написать нам на почту или позвонить по номеру телефона: 8 (351) 218-59-40.

на нашем сайте или вы можете отправить заявку на электронную почту , либо позвонить по номеру телефона: